Panzer IV L/48 Barrel length?

If you have a tank query and you can't find the answer anywhere else, post here. (TIP - Check for answers in FAQ, use the 'search' facility or even check this board before posting here).
Forum rules
If your question is electronics related please post it in one of the relevant boards here: viewforum.php?f=31
Post Reply
Scoopey
Recruit
Posts: 20
Joined: Fri Apr 26, 2013 7:20 pm
Location: Manchester England

Panzer IV L/48 Barrel length?

Post by Scoopey »

Hello there folks,
Bit of a query I hope someone can help me with. I heard on quite a few tanks that the barrel is often the wrong size. Anyhow, unusally on the Heng Long Panzer IV with L48 the metal replacement barrel is reputedly incorrect. Whilst I've noted many people have lengthened it to be correct not many people are actually revealing how long it should.
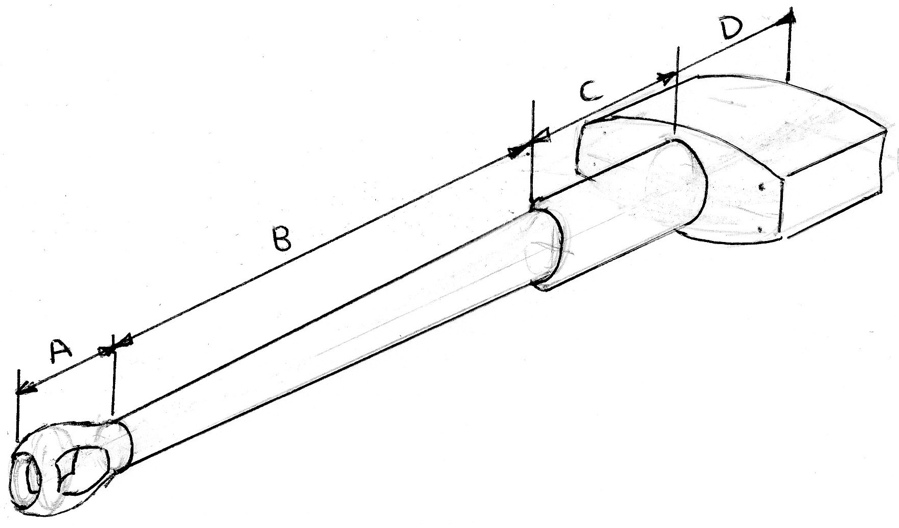
As I'm new to RC tanking and not fully up on the terms when it comes to barrels except the Mantlet and Muzzle brake I decided to draw a sketch. What I'd like to know is either the "real" measurements or 1/16 scale measurements, particularly A-C as I intended to split the barrel and put an "insert" piece to correct it's length.
Attachments
PZ1V barrel.jpg
User avatar
MichaelC
2nd Lieutenant
Posts: 2449
Joined: Tue Oct 16, 2012 4:03 pm
Location: Toronto, Canada

Re: Panzer IV L/48 Barrel length?

Post by MichaelC »

I have the following in 1:35 scale

A - 13 mm
B - 49 mm
C - 15 mm
D - 12 mm

Note that this is for the square muzzle brake and not the round one.
Scoopey
Recruit
Posts: 20
Joined: Fri Apr 26, 2013 7:20 pm
Location: Manchester England

Re: Panzer IV L/48 Barrel length?

Post by Scoopey »

Thanks for that
User avatar
forgebear
Warrant Officer 1st Class
Posts: 1848
Joined: Fri Nov 21, 2008 11:15 pm
Location: bedford
Contact:

Re: Panzer IV L/48 Barrel length?

Post by forgebear »

i think its this
a/c about 158mm a/b 136mm aprox dave
Post Reply

Return to “General Questions”